Оптические методы стеганографической защиты цифровых изображений - page 9

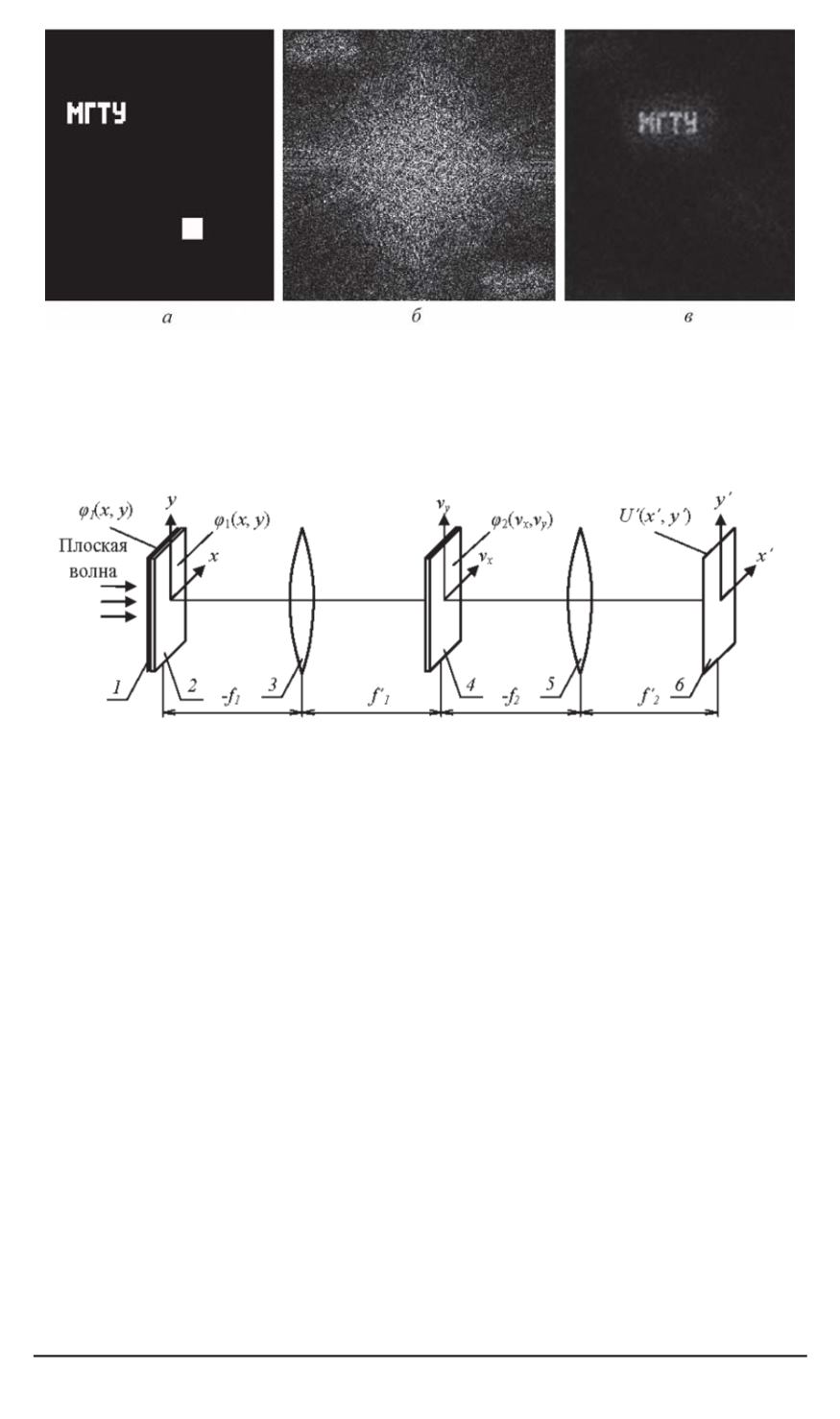
Рис. 5. Результаты моделирования по схеме коррелятора совместного преобра-
зования:
а
— распределение амплитуды входного сигнала;
б
— спектр амплитуд стего объекта;
в
— восстановленное сообщение
Рис. 6. Стеганограф, основанный на 4-
f
корреляторе:
1
— фазовый транспарант;
2, 4
— фазовые маски со случайным распределением
фазы;
3, 5
— ФПО;
6
— плоскость регистрации
регистрации также будет иметь вид стационарного белого шума [8].
В этом случае пара фазовыхмасок
2
и
4
исполняет роль ключа.
Сигнал на входе ФПО
3
определяется формулой
U
1
(
x, y
) = exp [
i
(
ϕ
I
(
x, y
) +
ϕ
1
(
x, y
))]
,
где
ϕ
I
(
x, y
)
— функция бинарного фазового транспаранта
1
, задаю-
щая встраиваемое сообщение;
ϕ
1
(
x, y
)
— функция бинарной фазовой
маски
2
с псевдослучайным распределением фазы.
Сигнал на входе ФПО
5
определяется выражением
U
2
(
ν
x
, ν
y
) =
{
exp [
i
(
ϕ
I
(
x, y
) +
ϕ
1
(
x, y
))]
}
exp [
2
(
ν
x
, ν
y
)]
,
где
ϕ
2
(
x, y
)
— функция бинарной фазовой маски
4
с псевдослучайным
распределением фазы.
Сигнал на выходе ФПО
5
имеет вид белого шума и определяется
комплексной функцией
ISSN 0236-3933. Вестник МГТУ им. Н.Э. Баумана. Сер. “Приборостроение”. 2010. № 1 37
1,2,3,4,5,6,7,8 10,11,12
Powered by FlippingBook