Метод описания процессов выполнения заданий в мультипрограммных и мультипроцессорных системах - page 4

указанные функции и связующие их параметры. Реализация блока
предполагает его описание в виде некоторого процесса.
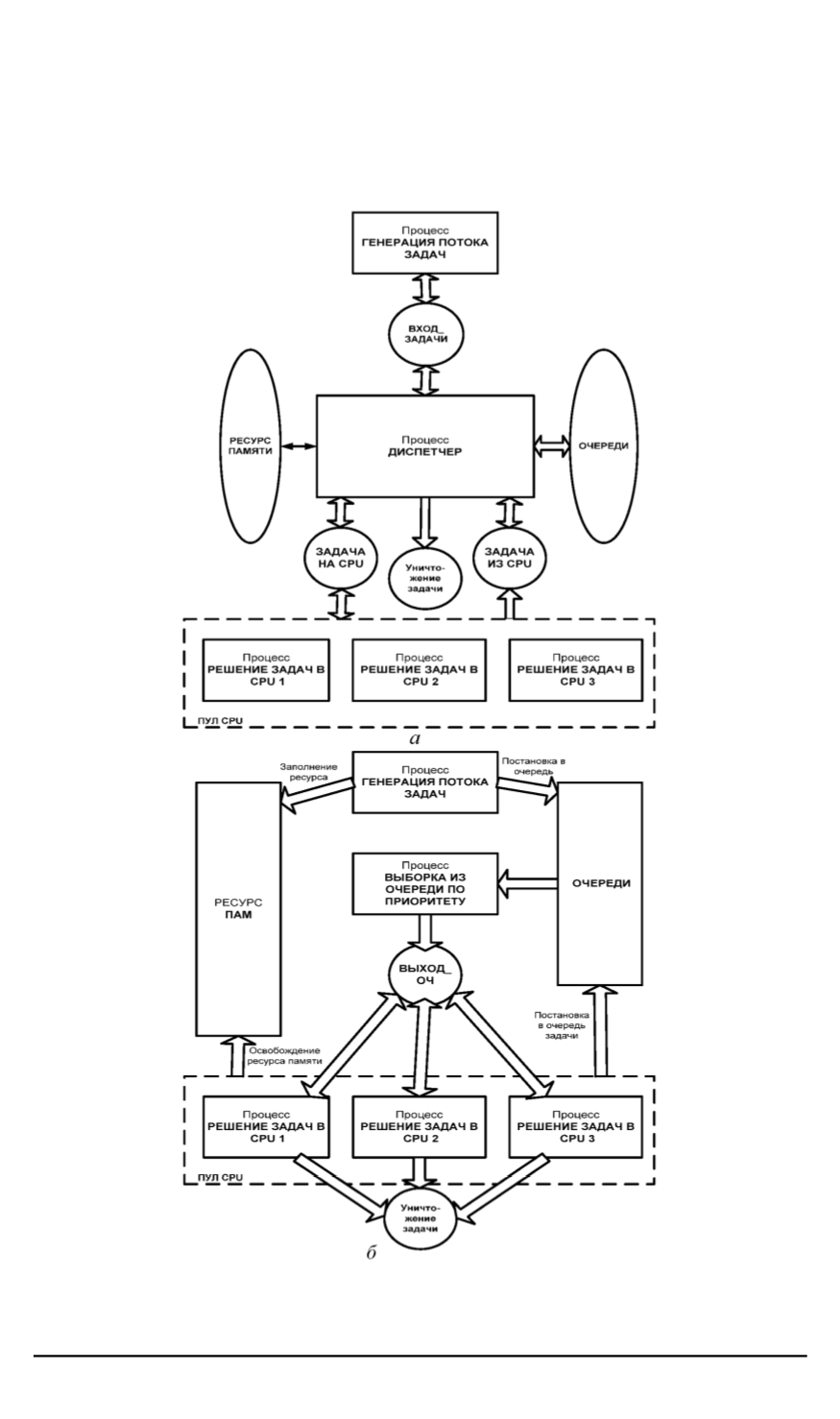
На блочно-параметрической схеме (рис. 2,
а
), описывающей пото-
ковую схему с сосредоточенными функциями, хорошо видно, каким
способом блок диспетчера связывается с другими блоками и какие
Рис. 2. Блочно-параметрические схемы с сосредоточенными (
а
) и рассредото-
ченными (
б
) функциями
124 ISSN 0236-3933. Вестник МГТУ им. Н.Э. Баумана. Сер. “Приборостроение”. 2014. № 1
1,2,3 5,6,7,8,9,10,11,12
Powered by FlippingBook