Аналого-цифровые и цифро-аналоговые преобразователи в системах активного управления акустическими полями - page 3

от типа преобразователя и параметров применяемыханалоговыхи
цифровыхнизкочастотных(НЧ) фильтров.
В настоящее время в составе блока преобразователей САГ чаще
всего применяются следующие типы АЦП:
параллельные АЦП
, в которыхвходной сигнал одновременно
сравнивается с эталонными уровнями линейки компараторов, форми-
рующихна выходе двоичный код. В таком АЦП число компарато-
ров равно
2
N
— 1, где
N
— разрядность цифрового кода. Недостат-
ком АЦП данного типа является необходимость увеличения в 2 раза
числа компараторов для каждого следующего разряда точности. Для
4-разрядного АЦП необходимо 16 компараторов, для 12-разрядного —
4096.
sigma-delta АЦП
как вариант АЦП, работающего на частоте
F
s
,
значительно (в 64 раза и более) превышающей частоту дискретиза-
ции
F
d
выходного цифрового сигнала. Компаратор такого АЦП выда-
ет значения пониженной разрядности (обычно однобитовые), сумма
которыхв интервале дискретизации
F
d
пропорциональна величине
отсчета. Последовательность однобитовыхзначений подвергается ци-
фровой фильтрации и понижению частоты квантования (децимация),
в результате чего получается серия отсчетов с заданной разрядностью
и частотой дискретизации
F
d
.
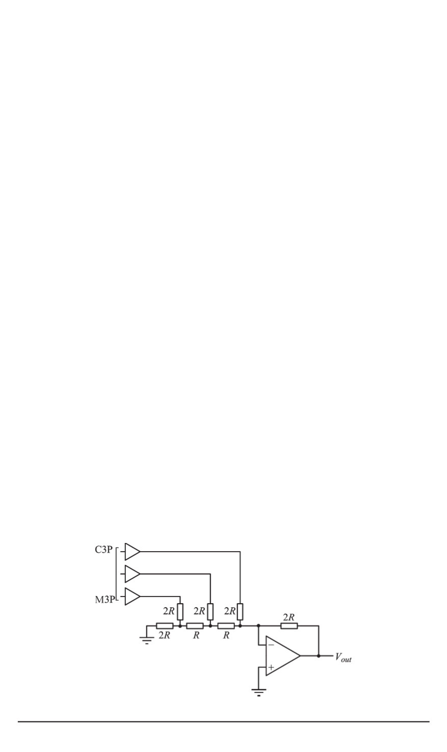
Современные ЦАП в основном строятся по трем схемам:
взвешивающие
ЦАП с суммированием взвешенныхтоков или на-
пряжений, когда каждый разряд входного слова вносит соответствую-
щий своему двоичному весу вклад в получаемый аналоговый сигнал;
такие ЦАП называют также параллельными или многоразрядными
(multibit) (рис. 1);
sigma-delta
ЦАП с предварительной интерполяцией и выдачей
малоразрядных(обычно однобитовых) значений на схему формирова-
ния эталонного заряда, которые со столь же высокой частотой добавля-
ются к выходному сигналу. Такие ЦАП также называются bitstream.
Рис. 1. Структура параллельного ЦАП с резистивной матрицей R-2R
90 ISSN 0236-3933. Вестник МГТУ им. Н.Э. Баумана. Сер. “Приборостроение”. 2008. № 4
1,2 4,5,6,7,8,9,10,11,12,13,...15
Powered by FlippingBook