Навигация пешехода в закрытом помещении - page 6

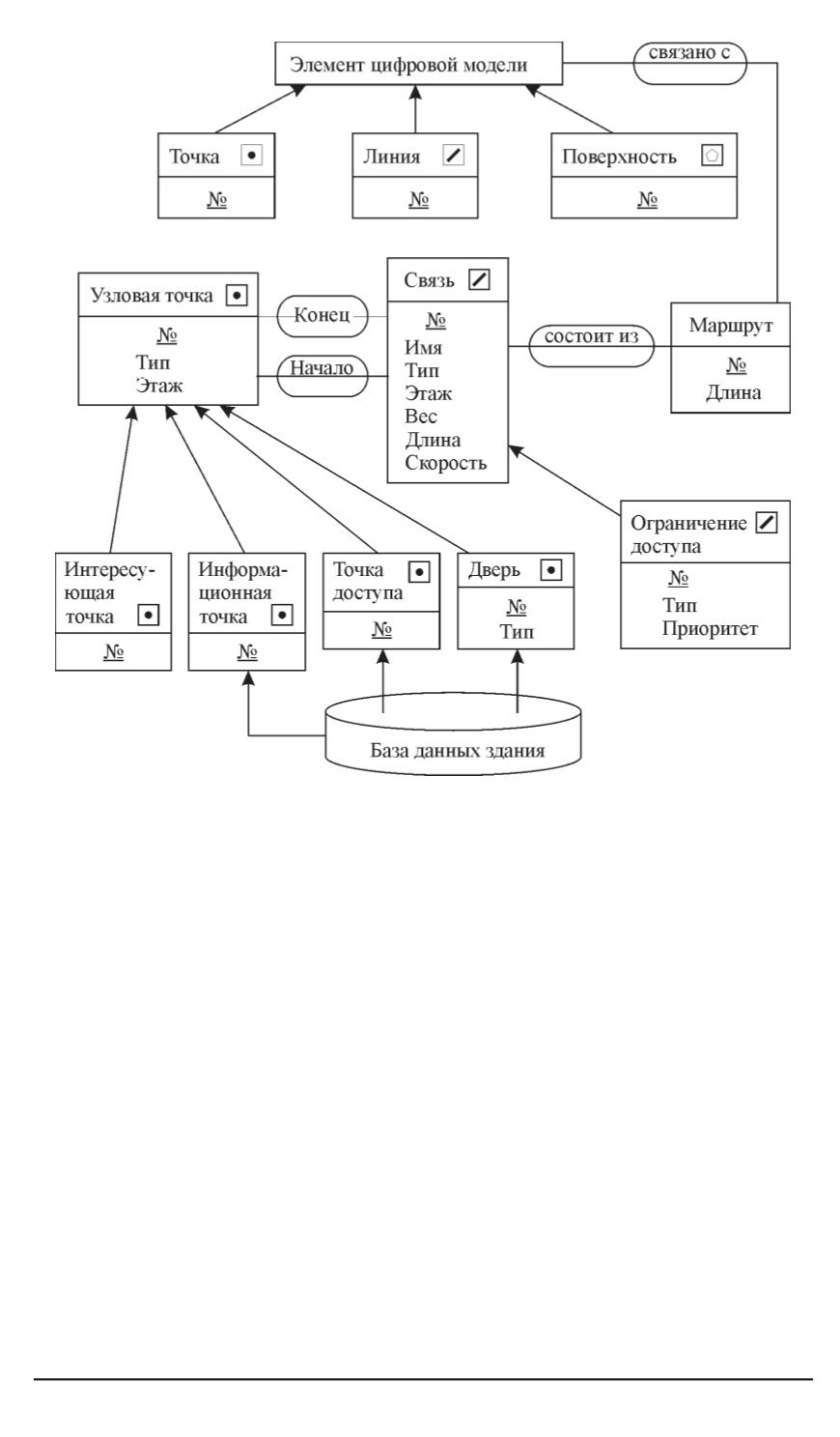
Рис. 4. Структура абстрактной модели
Прокладывание маршрута в помещении.
Основная цель создания
модели — автоматическое прокладывание маршрута по цифровой кар-
те. Главнымпреимуществомабстрактной модели является интерпре-
тация исследуемого района в виде сети, состоящей из узловых точек и
связей между ними, которую удобно анализировать с помощью весо-
вых функций. Каждая связь имеет такой атрибут, как “вес”, который за-
висит от времени, необходимого, чтобы из ее начальной узловой точки
попасть в конечную узловую точку. При этомиспользуется некоторая
усредненная скорость движения. Вес участка маршрута, проходяще-
го вверх и вниз по лестнице, также определяется среднимвременем
движения. Учитываются и другие атрибуты, в частности ограничение
доступа.
После того, как определены весовые функции всех возможных
участков маршрута, применение алгоритма определения кратчайше-
го маршрута не вызывает трудностей. Длина маршрута определяется
суммой весовых коэффициентов его участков. Поскольку решений в
ISSN 0236-3933. Вестник МГТУ им. Н.Э. Баумана. Сер. “Приборостроение”. 2007. № 3 49
1,2,3,4,5 7,8,9,10,11,12
Powered by FlippingBook