Принципы построения композитной среды с отрицательной магнитной проницаемостью - page 8

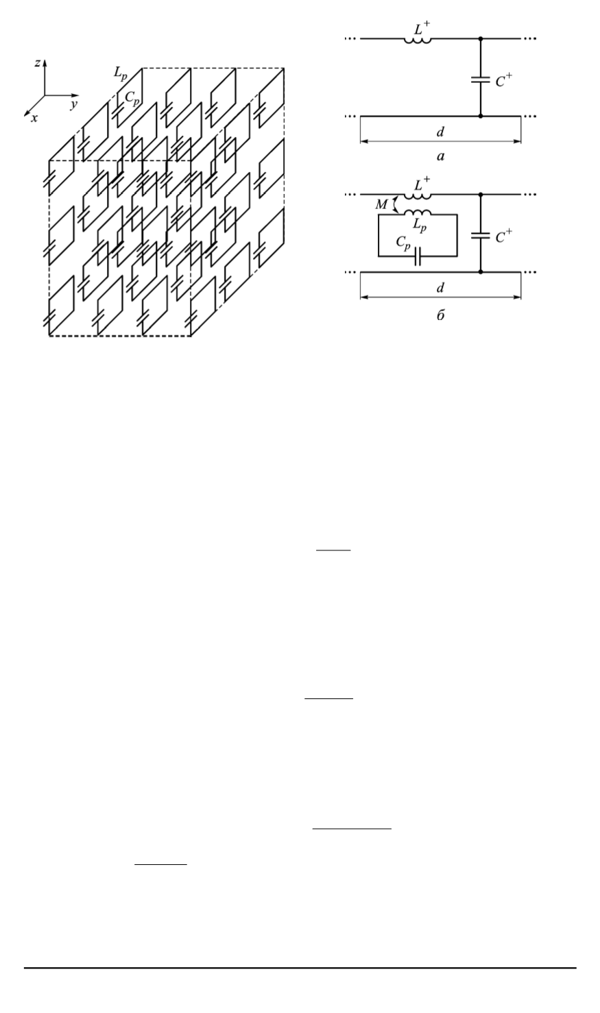
Рис. 6. Фрагмент композитной сре-
ды на основе периодических структур
прямоугольных рамок
Рис. 7. Эквивалентные схемы свобод-
ного пространства с распространяю-
щейся в нем волной
T
(
а
) и помещен-
ной в него композитной средой (
б
)
ном смысле среду, необходимо учитывать параметры этой среды: ди-
электрическую (
ε
a
) и магнитную (
μ
0
) проницаемости. В этом случае
они являются скалярными и постоянными функциями пространствен-
ных координат. Тогда при распространении плоской
Т
-волны фазовая
постоянная определяется выражением
β
=
ω/
ε
a
μ
0
.
Этому процессу можно сопоставить эквивалентную схему
(рис. 7,
a
), где эквивалентная погонная емкость
C
+
и эквивалент-
ная погонная индуктивность
L
+
, исходя из телеграфных уравнений,
соответствуют указанным параметрам среды, а фазовая постоянная
вычисляется по формуле
β
=
ω
C
+
L
+
.
Внесение композитной структуры (см. рис. 6) в рассматриваемую
однородную среду приводит к новой эквивалентной схеме с изменен-
ной погонной индуктивностью [11] (рис. 7,
б
):
L
экв
=
L
+
(1
к
2
1
ω
2
p
2
)
,
где
к
=
M/
p
L
+
dL
p
— коэффициент связи,
M
— коэффициент взаим-
ной индукции,
d
— размер ячейки.
Таким образом, магнитная проницаемость композитной среды из
периодических резонансных рамочных цепочек, помещенных в одно-
10 ISSN 0236-3933. Вестник МГТУ им. Н.Э. Баумана. Сер. “Приборостроение”. 2011. № 1
1,2,3,4,5,6,7 9,10,11,12,13,14,15
Powered by FlippingBook