Равновесно-арбитражная многокритериальная балансировка каналов в многосвязанном регулировании и управлении - page 15

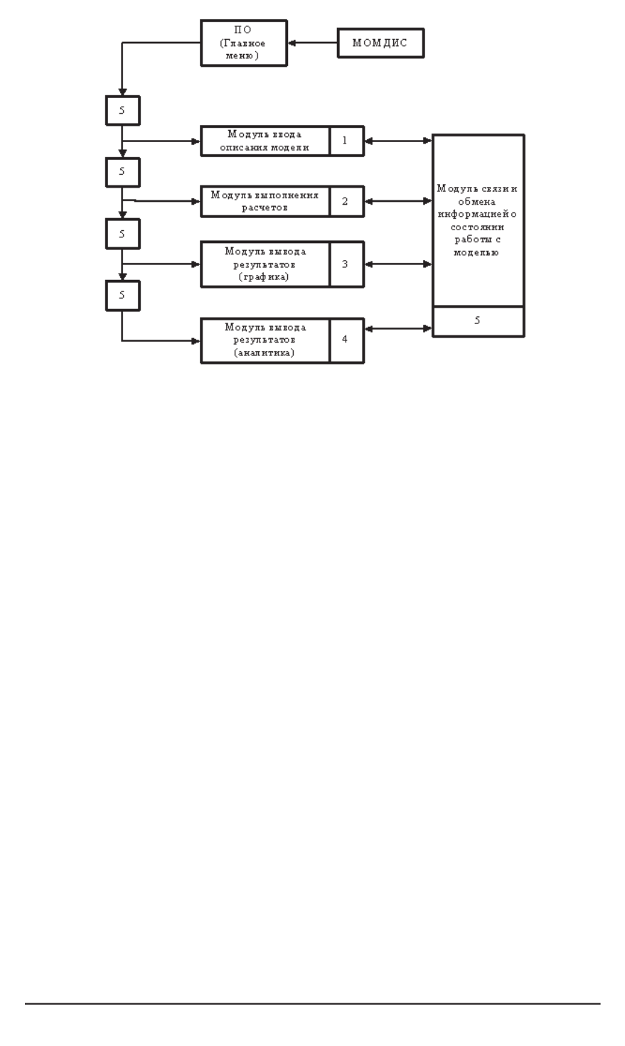
Рис. 8. Структурная схема ПС “МОМДИС”
При этом интервалы изменения параметров
k
ДГ1,2
и
k
ДЛУ1,2
выбраны таким
образом, чтобы гарантировать устойчивость системы (
≈ ±
40
% относитель-
но центра
D
-разбиения):
k
ДГ1
[0
,
9; 2]
;
k
ДЛУ1
[0
,
005; 0
,
04]
;
k
ДГ2
[2
,
5; 5]
;
k
ДЛУ2
[0
,
01; 0
,
1]
.
В результате расчета получены следующие значения параметров системы
и показателей качества в точке оптимальной балансировки каналов (равно-
весия по Нэшу):
k
r
ДГ1
= 1
,
4500
В
·
с;
k
r
ДЛУ1
= 0
,
0138
В
·
с
2
/м;
k
r
ДГ2
= 4
,
3750
В
·
с;
k
r
ДЛУ2
= 0
,
0775
В
·
с
2
/м;
J
1
= 0
,
9748;
J
2
= 0
,
8865
.
Нахождение СТЭК в форме равновесно-арбитражного решения.
За-
дачи управления ММС имеют ряд свойств, которые свидетельствуют о необ-
ходимости формирования компромиссов и создают для этого определенную
основу.
Значительную часть подходов оптимизации в рамках обязательных согла-
шений составляют арбитражные схемы [1]. В настоящей работе рассмотрено
применение арбитражной схемы Нэша (АСН). Она имеет ряд полезных функ-
циональных свойств, которые достаточно хорошо изучены. Поэтому данную
арбитражную схему используют наряду с другими компромиссными реше-
ниями.
Исходной точкой модифицированной АСН является равновесное реше-
ние (см. [1], гл. 6), а результат дает одну из точек области оптимальности по
Парето–Слейтеру [7]. Таким образом, удается достичь объединения свойств
стабильности (обеспечиваемой равновесным решением по Нэшу) и каче-
ства (обеспечиваемого оптимальностью решения по Парето) и получить
стабильно-эффективный компромисс.
По определению арбитражной схемы арбитражное решение удовлетво-
ряет условию
max
u
i
M
k
(
J
i
(
u
)
J
i
)
u
a
,
(19)
ISSN 0236-3933. Вестник МГТУ им. Н.Э. Баумана. Сер. “Приборостроение”. 2007. № 4 113
1...,5,6,7,8,9,10,11,12,13,14 16,17,18,19,20,21
Powered by FlippingBook