Алгоритм управления ресурсами на основе сравнения многокритериальных альтернатив и прогноза динамики конфликта - page 14

объектов, направленных на поражение ЛС ПВО, а также возможность
пополнения активных объектов ЛС ВБ за счет собственных пассивных
объектов (СР), которые потенциально могут выпускать определенное
количество ракет при приближении к эффективной зоне пуска.
Конфигурация систем имеет следующий вид: в центре находит-
ся объект ЛС ПВО — корабль, на борту которого имеются два ком-
плекса ПВО со своими станциями наведения и целеуказания. Система
ПВО в целом рассматривается как точечный объект, с одними общи-
ми координатами (например,
(0; 0)
). ЛС ВБ представляет собой группу
преимущественно активных объектов, направленных на корабль. Рас-
сматривается налет, насыщающий ЛС ПВО: численность ЛС ВБ —
10. . . 30 объектов. Конфигурация ЛС ВБ может быть различной, но в
работе рассматривается линейный вид расположения объектов в кон-
кретном секторе воздействия ЛС ПВО. Основная цель ЛС ПВО —
выделить из общей группы объектов ЛС ВБ наиболее опасные и про-
извести собственное целераспределение с учетом возможной тактики
противника; основная задача ЛС ПВО — сохранение собственных объ-
ектов (в частности, обеспечение живучести корабля).
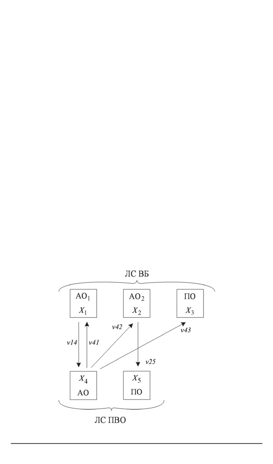
Графически схема конфликта представлена на рис. 3.
Состав первой группы (активных) объектов ЛС ВБ (реализующих
непосредственную угрозу кораблю):
X
1
(0)
— количество ПРР в ЛС ВБ;
X
2
(0)
— количество КР в ЛС ВБ.
Рис. 3. Схема конфликта ЛС ВБ — ЛС ПВО
16 ISSN 0236-3933. Вестник МГТУ им. Н.Э. Баумана. Сер. “Приборостроение”. 2006. № 2
1...,4,5,6,7,8,9,10,11,12,13 15,16,17,18,19,20,21,22,23,24,...27
Powered by FlippingBook