Анализ синтезатора частот с петлей ФАП - page 7

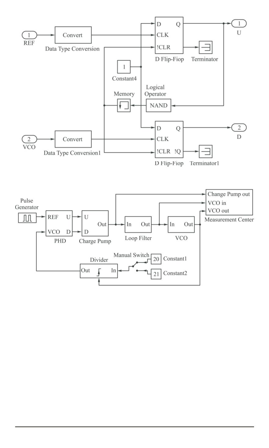
Рис. 4. Модель генератора подкачки в программе Simulink
Рис. 5. Модель синтезатора частот
В качестве ФД PFD выступает система с генератором подкачки Charge
Pump, работа которой была описана ранее.
Фильтр нижних частот Loop Filter в таком исполнении можно исполь-
зовать как фильтр ФНЧ первого порядка, так и ФНЧ второго порядка, УГ
представлен в виде элемента VCO.
На вход Clock In поступает сигнал с УГ, а на вход “1” значение коэффи-
циента на который следует осуществить деление. Изменение коэффициента
деления может быть выполнено непосредственно во время моделирования,
поэтому можно наблюдать за перестройкой частоты.
Зададим исходные данные:
K
УГ
= 0
,
1
Гц
/
В
, F
УГ
= 250
МГц
, F
= 10
МГц
, N
= 20
.
ISSN 0236-3933. Вестник МГТУ им. Н.Э. Баумана. Сер. “Приборостроение”. 2014. № 2 59
1,2,3,4,5,6 8,9,10
Powered by FlippingBook