Многоканальный быстрый RLS-алгоритм адаптивной фильтрации для параллельной реализации с помощью четырех процессоров - page 3

Ɋɢɫ
( +(
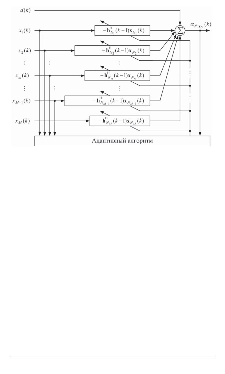
Ɇɧɨɝɨɤɚɧɚɥɶɧɵɣ ɚɞɚɩɬɢɜɧɵɣ ɮɢɥɶɬɪ
ɧɟɨɞɢɧɚɤɨɜɨɟ ɱɢɫɥɨ ɤɨɦɩɥɟɤɫɧɵɯ ɜɟɫɨɜɵɯ ɤɨɷɮɮɢɰɢɟɧɬɨɜ ɞɥɹ ɤɚɠɞɨ
'
ɝɨ ɤɚɧɚɥɚ
(
ɐɟɥɶɸ ɦɧɨɝɨɤɚɧɚɥɶɧɨɣ ɚɞɚɩɬɢɜɧɨɣ ɮɢɥɶɬɪɚɰɢɢ ɩɨ ɤɪɢɬɟ
'
ɪɢɸ ɧɚɢɦɟɧɶɲɢɯ ɤɜɚɞɪɚɬɨɜ
&
ɨɩɪɟɞɟɥɹɟɦɨɦɭ ɧɚ ɫɤɨɥɶɡɹɳɟɦ ɨɤɧɟ ɞɥɢ
'
ɧɨɣ
L
ɨɬɫɱɟɬɨɜ
&
ɹɜɥɹɟɬɫɹ ɦɢɧɢɦɢɡɚɰɢɹ ɷɧɟɪɝɢɢ ɨɲɢɛɨɤ ɦɟɠɞɭ ɬɪɟɛɭɟ
'
ɦɵɦ ɫɢɝɧɚɥɨɦ
d
(
k
)
ɢ ɜɵɯɨɞɧɵɦ ɫɢɝɧɚɥɨɦ ɚɞɚɩɬɢɜɧɨɝɨ ɮɢɥɶɬɪɚ
4
E
N
(
k
) =
k
X
i
=
k
a
L
+1
w
k
a
i
¡
d
(
i
)
a
h
B
N
(
k
)

N
(
i
)
¢
2
,
(
+
)
ɝɞɟ
h
B
N
(
k
) =
£
h
B
N
1
(
k
)
,
h
B
N
2
(
k
)
, . . . ,
h
B
N
m
(
k
)
, . . . ,
h
B
N
M
a
1
(
k
)
,
h
B
N
M
(
k
)
¤
‡
ɜɟɤɬɨɪ ɜɟɫɨɜɵɯ ɤɨɷɮɮɢɰɢɟɧɬɨɜ
M
'
ɤɚɧɚɥɶɧɨɝɨ ɚɞɚɩɬɢɜɧɨɝɨ ɮɢɥɶɬɪɚ
5
h
N
m
(
k
) =
£
h
0
,m
, h
1
,m
, . . . , h
N
m
a
2
,m
, h
N
m
a
1
,m
¤
ɬ
‡
ɜɟɤɬɨɪ ɜɟɫɨɜɵɯ ɤɨ
'
ɷɮɮɢɰɢɟɧɬɨɜ ɜ
m
'
ɦ ɤɚɧɚɥɟ ɮɢɥɶɬɪɚ
5

ɬ
N
(
k
) =
£
x
ɬ
N
1
(
k
)
,
x
ɬ
N
2
(
k
)
, . . . ,
x
ɬ
N
m
(
k
)
, . . . ,
x
ɬ
N
M
a
1
(
k
)
,
x
ɬ
N
M
(
k
)
¤
‡
ɜɟɤɬɨɪ ɫɢɝɧɚɥɨɜ ɜ ɚɞɚɩɬɢɜɧɨɦ ɮɢɥɶ
'
ɬɪɟ
5
x
N
m
(
k
) =
£
x
m
(
k
)
, x
m
(
k
a
1)
, . . . , x
m
(
k
a
N
m
+ 2)
,
x
m
(
k
a
N
m
+ 1)
¤
ɬ
‡
ɜɟɤɬɨɪ ɫɢɝɧɚɥɨɜ ɜ
m
'
ɦ ɤɚɧɚɥɟ ɮɢɥɶɬɪɚ
5
N
m
‡
ɱɢɫɥɨ ɜɟɫɨɜɵɯ ɤɨɷɮɮɢɰɢɟɧɬɨɜ ɜ
m
'
ɦ ɤɚɧɚɥɟ
5
N
=
X
M
m
=1
N
m
‡
ɨɛ
'
ɳɟɟ ɱɢɫɥɨ ɜɟɫɨɜɵɯ ɤɨɷɮɮɢɰɢɟɧɬɨɜ ɚɞɚɩɬɢɜɧɨɝɨ ɮɢɥɶɬɪɚ
5
k
‡
ɧɨɦɟɪ
ɢɬɟɪɚɰɢɢ
"
ɞɢɫɤɪɟɬɧɨɟ ɜɪɟɦɹ
#5
B
ɢ
ɬ
‡
ɡɧɚɤɢ ɷɪɦɢɬɨɜɚ ɫɨɩɪɹɠɟɧɢɹ ɢ
ɬɪɚɧɫɩɨɧɢɪɨɜɚɧɢɹ
5
ɧɢɠɧɢɣ ɢɧɞɟɤɫ
N
ɢɫɩɨɥɶɡɭɟɬɫɹ ɞɥɹ ɨɛɨɡɧɚɱɟɧɢɹ
ɪɚɡɦɟɪɧɨɫɬɢ ɜɟɤɬɨɪɨɜ ɫ ɱɢɫɥɨɦ ɷɥɟɦɟɧɬɨɜ
N
ɢ ɤɜɚɞɪɚɬɧɵɯ ɦɚɬɪɢɰ ɫ
CMMH *,-0'-3--(
ȼɟɫɬɧɢɤ ɆȽɌɍ ɢɦ
(
ɇ
(
ɗ
(
Ȼɚɭɦɚɧɚ
(
ɋɟɪ
(
ɉɪɢɛɨɪɨɫɬɪɨɟɧɢɟ
( ,**/(
ʋ
+ 2/
1,2 4,5,6,7,8,9,10,11,12,13,...17
Powered by FlippingBook