Моделирование и анализ ситуаций в виртуальной среде движущихся объектов - page 9

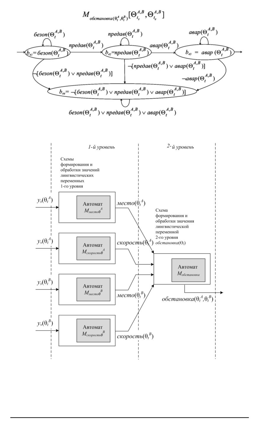
Рис. 4. Граф автомата 2-го уровня
M
обстановка
(
θ
A
t
B
t
)
A,B
t
s
,
Θ
A,B
t
e
]
(
безоп
— безо-
пасная;
предав
— предаварийная;
авар
— аварийная)
Рис. 5. Эталонная модель ситуации
(см. рис. 5), которые формируют соответствующие значения лингви-
стических переменных и передают их на вход схемы формирова-
ния и обработки значений лингвистической переменной 2-го уровня
34 ISSN 0236-3933. Вестник МГТУ им. Н.Э. Баумана. Сер. “Приборостроение”. 2013. № 3
1,2,3,4,5,6,7,8 10,11,12,13,14,15,16,17
Powered by FlippingBook