Анализ гибридной системы фазовой и тактовой синхронизации - page 7

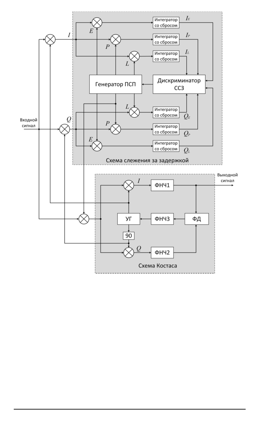
Рис. 4. Гибридная система синхронизации
помощью ФНЧ, стоящего на выходе перемножителя (на рис. 4 ФНЧ
не показаны). Таким образом, на вход схемы слежения за задержкой
поступает только низкочастотный сигнал — ПСП, сложенная по мо-
дулю 2 с информационным сигналом и не модулированная несущей.
На рис. 4 ФД — фазовый дискриминатор, различные типы которого
приведены в табл. 1.
Проведем моделирование ГСС . На рис. 5 изображена модель ГСС
в Simulink. В схеме Костаса зададим тип дискриминатора № 4 в со-
ответствии с табл. 1, в схеме слежения за задержкой зададим тип дис-
криминатора № 3 в соответствии с табл. 2. Для уменьшения времени
моделирования в качестве ПСП возьмем последовательность Голда
длиной
n
= 31
.
46 ISSN 0236-3933. Вестник МГТУ им. Н.Э. Баумана. Сер. “Приборостроение”. 2013. № 1
1,2,3,4,5,6 8,9,10,11
Powered by FlippingBook