Выявление технических каналов утечки информации: методы, структура и характеристики средств - page 16

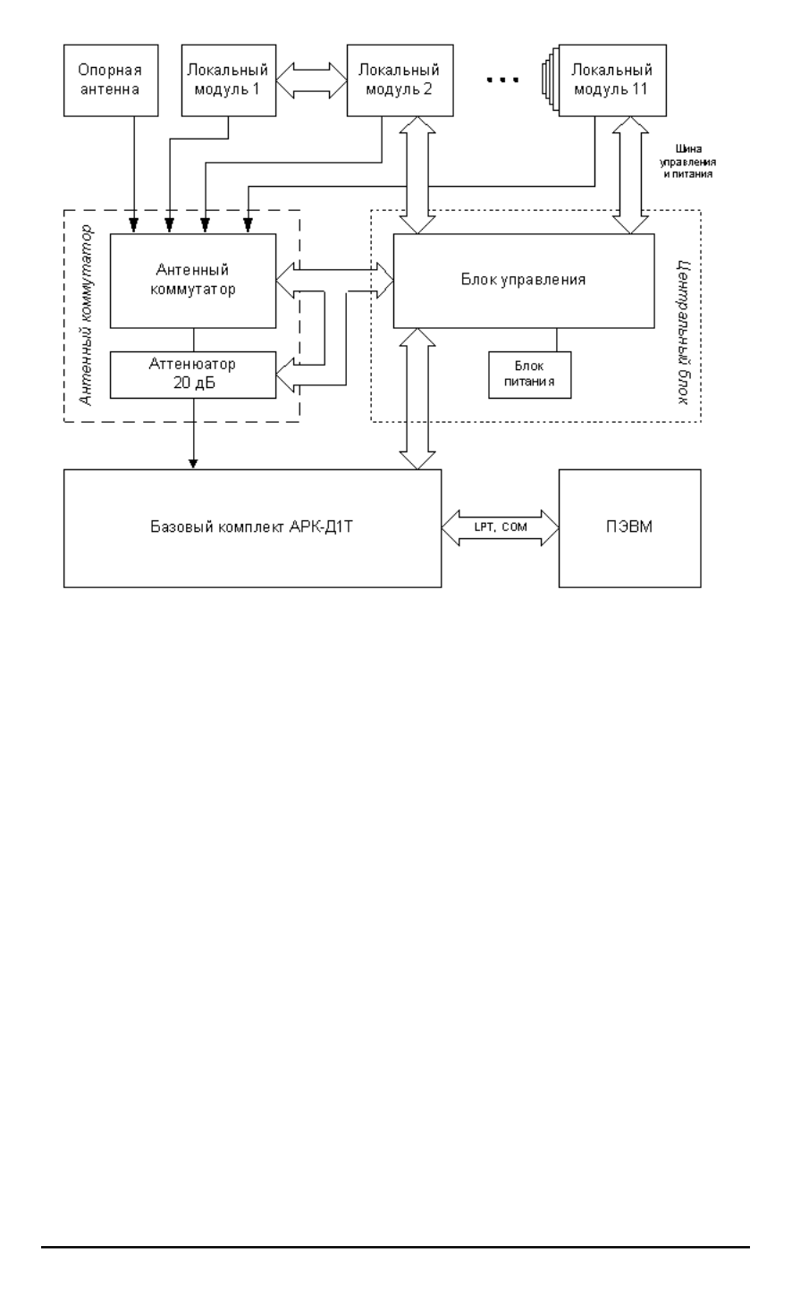
Рис
. 4.
Обобщенная структурная схема СДРМ
того
(
АРК
-
Д
7
М
)
поколений
.
Данные системы в полной конфигурации
обеспечивают дистанционный радиомониторинг до одиннадцати кон
-
тролируемых помещений в диапазоне от
10
кГц до
18
ГГц
.
В настоящей работе рассмотрим построение подсистем для частот
от
20
МГц и выше
,
представляющих наибольший интерес для пользо
-
вателей
.
Обобщенная структурная схема СДРМ представлена на рис
. 4.
Аппаратура центрального поста
.
На центральном посту каждой из
подсистем размещено следующее оборудование
:
комплект антенных коммутаторов для разных диапазонов частот
;
автоматизированный комплекс радиомониторинга и выявления
технических каналов утечки информации
(
рис
. 5, 6);
распределительный блок
;
комплект соединительных высокочастотных и низкочастотных
кабелей
;
— IBM-
совместимая ПЭВМ
;
пакеты специального программного обеспечения для решения
задач дистанционного радиомониторинга и сопутствующих задач
.
ISSN 0236-3933.
Вестник МГТУ им
.
Н
.
Э
.
Баумана
.
Сер
. “
Приборостроение
”. 2003.
3 99
1...,6,7,8,9,10,11,12,13,14,15 17,18,19,20,21,22,23,24,25
Powered by FlippingBook