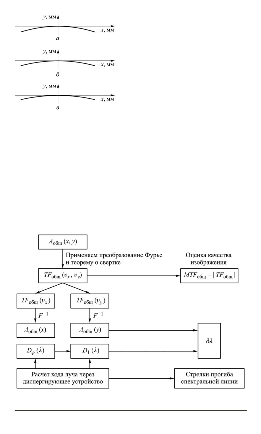
Рис. 4. Прогиб спектральных ли-
ний на длине волны
λ
0
(
а
),
λ
1
(
б
)
и
λ
2
(
в
)
лучей с плоскостью изображения не-
обходимо аппроксимировать полино-
мом, например второй степени, ко-
торый представляет собой уравнение
спектральной линии на длине волны
λ
:
Y
=
AX
2
+
BX
+
C
, где
A, B, C
—
коэффициенты полинома.
Сдвиг стрелки прогиба оценивает-
ся по формуле
S
y
=
y
край
−
y
центр
, где
y
край
и
y
центр
— координаты пересече-
ния крайнего и главного (центрально-
го) лучей с плоскостью изображения.
Методику расчета характеристик
ГСА можно свести к алгоритму
(рис. 5), который достаточно легко ре-
ализуется в широко распространенных программных комплексах
MathCAD, Matlab и т.п., а также используется для проведения анализа
тактико-технических характеристик и оптимизации схемотехнических
и конструктивных решений при разработке ГСА в целях повышения
качества изображения.
Выводы.
Предложена методика расчета основных характеристик
ГСА, работающих с призменным диспергирующим устройством. Ме-
тодика включает в себя расчет угловой и линейной дисперсии, сдвиг
стрелок прогиба спектральных линий, спектрального разрешения и
Рис. 5. Блок-схема алгоритма методики расчета основных характеристик ГСА
118 ISSN 0236-3933. Вестник МГТУ им. Н.Э. Баумана. Сер. “Приборостроение”. 2015. № 1




