82
ISSN 0236-3933. Вестник МГТУ им. Н.Э. Баумана. Сер. «Приборостроение». 2016. № 3
Каждый процесс
p
P
верхнего уровня интерфейсной системы
может задаваться интерфейсной системой более низкого уровня
S
(
p
)
=
{
P
(
p
),
L
(
p
),
I
(
p
),
O
(
p
),
ei
(
p
),
eo
(
p
)}, где
P
(
p
),
L
(
p
),
I
(
p
),
O
(
p
) имеют
тот же смысл, что и параметры
P
,
L
,
I
,
О
, но только как внутренняя
структура процесса
p
;
ei
(
p
) — функция, отображающая внутренние кана-
лы процесса
p
в его внешние входные каналы;
eo
(
p
) — функция, отобра-
жающая внутренние каналы процесса
p
в его внешние выходные каналы.
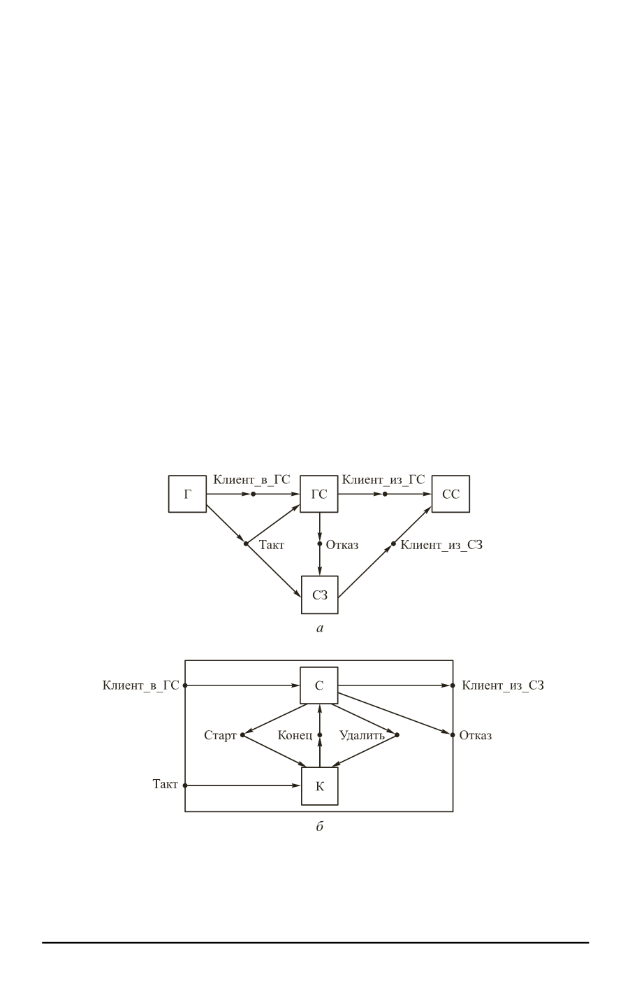
Рассмотрим пример, иллюстрирующий предлагаемые принципы
верификации свойств интерфейса. Этот пример в некоторой степени
использует интерфейс клиент-серверной системы, заимствованной из
работы [10]. Cистема состоит из главного сервера, отвечающего за ин-
терфейс с клиентами, сервера задержки, перераспределяющего клиен-
тов в случае их длительного обслуживания главным сервером, генерато-
ра, фиксирующего клиентов и направляющего их главному серверу, и
сервера статистики, фиксирующего обслуженных клиентов и серверы,
их обслужившие. Клиенты, слишком долго ожидающие обслуживания
главным сервером, могут отказаться от его услуги и обратиться к серве-
ру задержек. Сервер задержек является конкурентом главного сервера и
может оказывать те же услуги, что и главный сервер, но за более дли-
тельное время. Каждый клиент решает, следует ли ему отказываться от
услуг главного сервера без их предоставления и переходить на обслу-
Рис. 6.
Архитектуры клиент-серверной системы
S
(
а
)
и главного сервера (
б
):
ГС — главный сервер; СЗ — сервер задержки; Г — генератор;
СС — сервер статистики; С — буфер; К — клиентский сервис




