Методика автоматизированной расшифровки знаменных песнопений - page 11

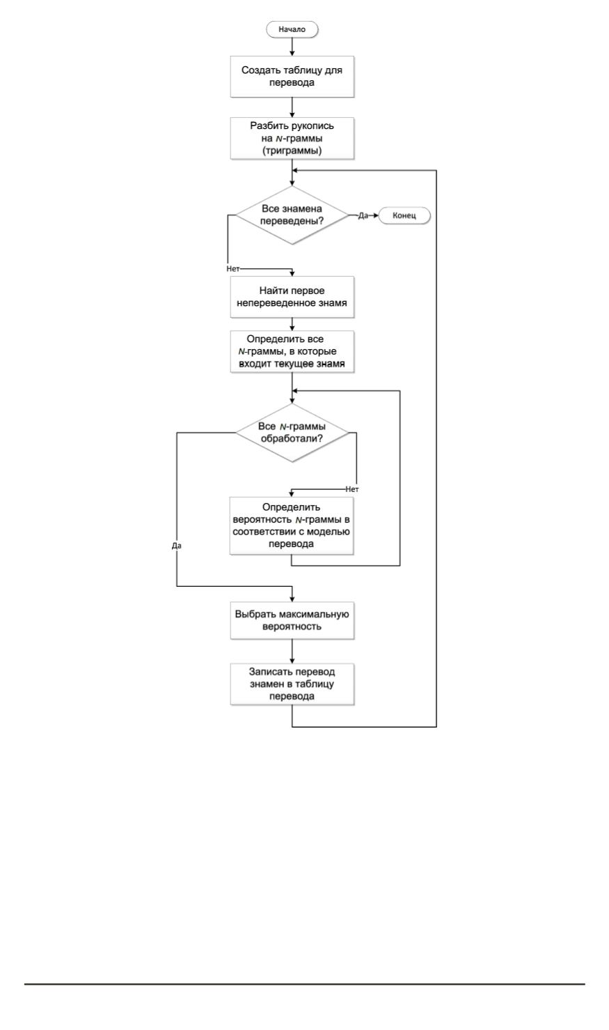
Рис. 7. Алгоритм дешифровки знаменных песнопений
ний и воспроизведения. На первом этапе все песнопения вводятся в
базу данных, далее они считываются модулями расшифровки, иссле-
дования и воспроизведения. Правила перевода хранятся в базе знаний.
В результате исследования эксперт может добавлять, редактировать
или удалять правила из базы знаний. Полученные в процессе расши-
фровки словари и песнопения сохраняются в базе знаний.
Результаты работы.
Предложенная методика имеет большую цен-
ность для исследователей, так как вследствие огромного числа источ-
ников (как рукописей, так и теоретических руководств) их достаточ-
ISSN 0236-3933. Вестник МГТУ им. Н.Э. Баумана. Сер. “Приборостроение”. 2014. № 4 65
1...,2,3,4,5,6,7,8,9,10 12,13,14,15
Powered by FlippingBook