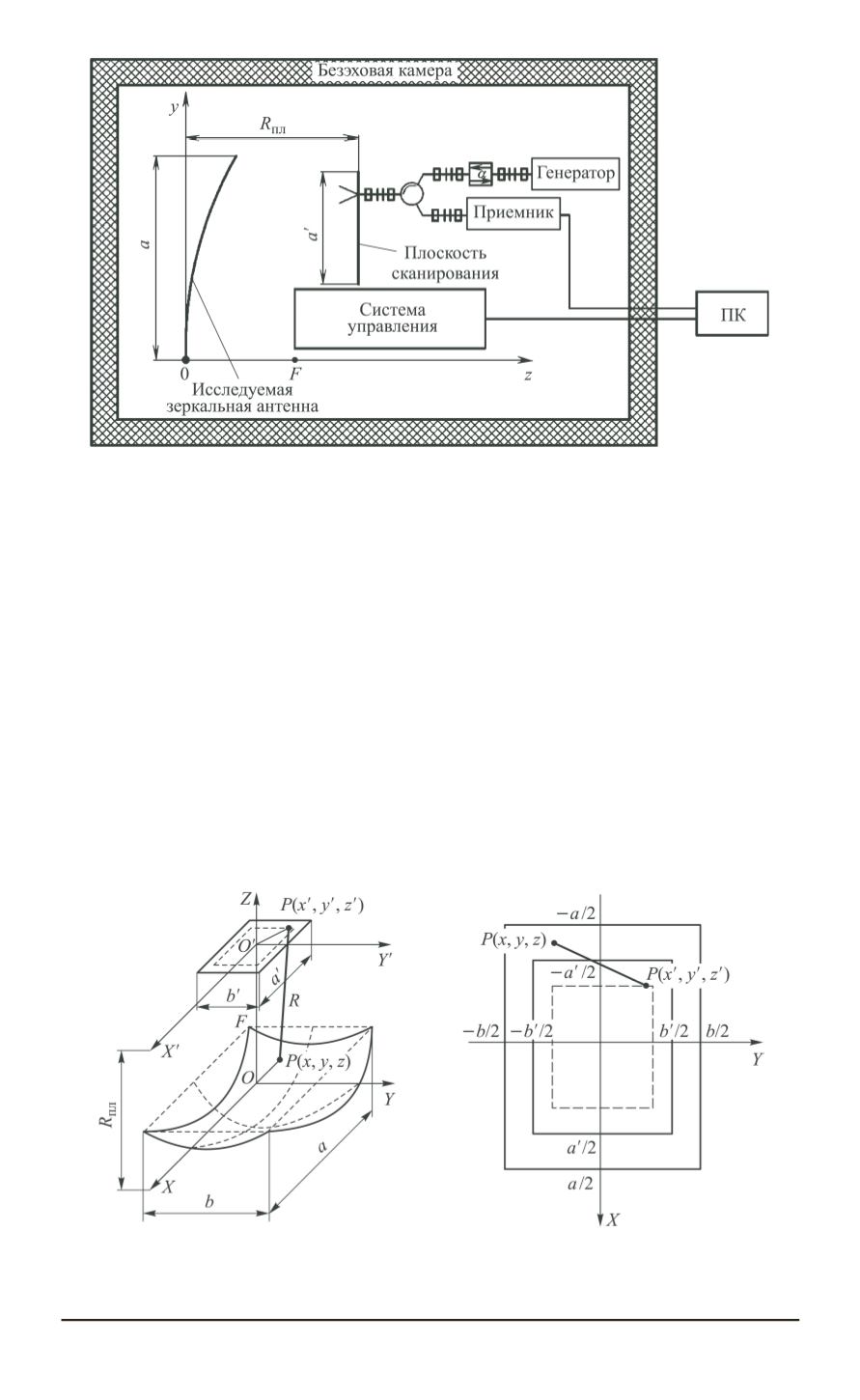
Рис. 1. Схема измерительного стенда профиля поверхности зеркального колли-
матора
ражающей поверхности зеркальных антенн. Схема установки измере-
ния профиля зеркальной антенны представлена на рис. 1.
Геометрия сканирования показана на рис. 2. Зонд перемещается в
плоскости в пределах прямоугольника
a
0
×
b
0
. Измерения проводятся в
декартовой системе координат, начало которой располагается в верши-
не параболоида исследуемого отражателя. Расстояние до плоскости
сканирования соответствует
R
пл
. В качестве приемо-передающего зон-
да используется слабонаправленная антенна в виде открытого конца
волновода, которая через Y-циркулятор запитывается генератором.
Работа ведется на одной поляризация, в данном случае выбрана
Рис. 2. Геометрия планарного измерения профиля зеркала:
а
— трехмерный вид;
б
— вид сверху
84 ISSN 0236-3933. Вестник МГТУ им. Н.Э. Баумана. Сер. “Приборостроение”. 2015. № 4




